当前位置:首页 -> 企业新闻
复叠空气源热泵热水机组安装使用说明书
东莞市正旭新能源设备科技有限公司
ZX-201801
目录
一、 产品简介 ……………………………………………………1
二、 机组操作说明 ………………………………………………2
三、 运输与安装 …………………………………………………12
四、 使用与维护 …………………………………………………13
五、 机组安装系统示意图 ………………………………………16
敬告各位用户:
感谢您使用本公司的产品,安装使用前请仔细阅读本说明书,因产品的不断改进,本说明书里面的内容与实际可能会有出入,说明书如有更新恕不另行通知,本公司保留对本说明书的最终解释权。
一、 复叠式热泵热水机组使用说明——产品简介
复叠空气源热泵热水机组是正旭公司的主要产品之一,该系列产品共有8个标准规格,单台机组能力为3HP~25HP,可以满足不同客户的需求。机组使用环境温度范围为-35℃~43℃,制取热水温度范围为30~95℃,该产品使用环境范围覆盖广,制取热水温度高,特别适合全年需求高温热水的客户。
1. 压缩机
采用世界名牌全封闭涡旋式压缩机,制热效率高,运行稳定可靠。涡旋盘为柔性设计,抗液击能力强,噪音低,寿命长。
2. 蒸发器
采用翅片式蒸发器,换热管为内螺纹紫铜管,换热效率高。配置制冷剂分流器,分流均匀,铝片为亲水铝片,间距大,不易结霜。
3. 冷凝器
采用高效管壳式冷凝器,或者套管式冷凝器和板式冷凝器,换热效率高,不易结垢。冷凝器进水口处设有排水口,冬天不使用机组时可方便排水防止换热器冻裂。
4. 风机
采用名牌低噪音风机,防水防尘,效率高,寿命长。
5. 膨胀阀
采用进口电子膨胀阀,精确调节制冷剂流量,机组能效高。
6. 控制器
采用名牌微电脑控制器和触摸屏,各项参数显示丰富,设置和操作方便,设有各种保护,如逆相保护、缺相保护、过流保护、排气温度保护、高低压保护、低温保护、水流保护,保证机组安全可靠运行。
7. 其他配件
其他配件采用名牌配件,运行可靠,寿命长,确保机组的高效、稳定、长寿命。
二、复叠式热泵热水机组使用说明—— 机组操作说明
1. 控制板接线


图1.1 电源板接线示意图




2. 控制板输入输出接口
|
强电输入 |
三相四线输入 |
相电压220V |
|
开关量输入 |
高压开关1、2 |
干节点输入(输入不能带电) |
|
低压开关1、2 |
干节点输入(输入不能带电) |
|
|
水流 |
干节点输入(输入不能带电) |
|
|
低水位 |
干节点输入(输入不能带电) |
|
|
高水位 |
干节点输入(输入不能带电) |
|
|
关联控制 |
短接 |
|
|
模拟量输入 |
环境探头 |
5K 热敏电阻 |
|
蒸发盘管探头1 |
5K 热敏电阻 |
|
|
节流阀后温度 |
5K 热敏电阻 |
|
|
排气探头1、2、 |
5K 热敏电阻 |
|
|
回气探头1、2、 |
5K 热敏电阻 |
|
|
回水(工程回水控制) |
5K 热敏电阻 |
|
|
出水 |
5K 热敏电阻 |
|
|
水箱(以水箱的温度做控制) |
5K 热敏电阻 |
|
|
继电器输出 |
供水泵 |
220V |
|
循环风机 |
220V |
|
|
压缩机1、2、 |
220V |
|
|
四通阀1、2、 |
220V |
|
|
曲轴加热 |
220V |
|
|
蒸发风机 |
220V |
|
|
回水阀 |
220V |
|
|
补水阀 |
220V |
|
|
电加热 |
220V |
注意:主板输入输出接口,请严格按照表中所列进行接线,不可将继电器直接外接功率较大的设备对其进行供电,如果外部设备功率较大,需用交流接触器进行推动。
3. 热泵热水机组使用说明——面板显示与操作
3.1正常显示界面
开机后进入该界面,在此界面中可以设定热水的目标温度,如图所示。

3.2参数设置
在主界面点击“参数设置”按钮,然后输入密码“00001111”,点击确定和登录后,如下图所示。



3.3设置项参数说明
|
温差起停设置 |
加热回差上限 |
用于控制设备在制热过程中的停机温差 该值需要除以10,如50表示5 |
0~50 (0) |
|
加热回差下限 |
用于控制设备在制热过程中的启动温差 该值需要除以10,如50表示5 |
0~50 (20) |
|
|
排气回气设置 |
排气高温设定 |
排气温度保护,压缩机排气温度高于此温度将会停机保护 |
100~125 (120) |
|
回气低温设定 |
在制冷过程中,压缩机回气温度低于此温度将会停机保护 |
-20~10 (0) |
|
|
化霜设置 |
化霜运行频率 |
化霜过程中低温级压缩机的运行频率 |
50~100 (80) |
|
化霜模式 |
有自动化霜和强制化霜,强制化霜时机组不检测盘管温度,所以需要使用者在化霜结束后转换回自动化霜模式 |
默认自动 |
|
|
化霜起始温度 |
在制热过程中,设备压缩机累计运行时间达到了设定的间隔时间,且盘管温度低于起始温度开始化霜 |
-30~10 (-3) |
|
|
化霜间隔时间 |
15~255(45) |
||
|
化霜结束温度 |
在化霜过程中,当化霜时间超过设定的工作时间,或盘管温度达到结束温度,结束化霜 |
0~20 (12) |
|
|
化霜工作时间 |
0~18 (15) |
||
|
化霜完风机运行时间 |
化霜完成后,风机的运行时间 |
0~60 (30) |
|
|
水箱温度<50度 化霜膨胀阀开度 |
在化霜时检测水箱温度,小于50度时膨胀阀的开度值 |
0~480 (480) |
|
|
50度<水箱温度<70度 化霜膨胀阀开度 |
在化霜时检测水箱温度,大于50度且小于70度时膨胀阀的开度值 |
0~480 (384) |
|
|
水箱温度>70度 化霜膨胀阀开度 |
在化霜时检测水箱温度,大于70度时膨胀阀的开度值 |
0~480 (240) |
|
|
电加热设置 |
电热工作模式 |
自动/强制关闭/强制开启 |
默认自动 |
|
电热环境温度 |
在自动模式下,环境温度小于该值启动电加热 |
-20~40 (-12) |
|
|
电热启动温差 |
启动电加热时,实际温度与目标温度之间的差值 |
0~10 (2) |
|
|
电热延迟时间 |
首次上电时运行电加热的延迟时间 |
30~300 (30) |
|
|
循环泵设置 |
循环泵模式 |
自动/常开 自动模式下,实际温度到达目标温度后,循环泵随压缩机停止工作而停止。 常开模式下,实际温度达到目标温度后,循环泵继续运行 |
默认自动 |
|
防冻设置 |
防冻环境温度 |
环境温度小于该值后,将会进入防冻模式 |
-10~10 (5) |
|
防冻出水温度 |
防冻运行时,当实际的出水温度大于该值结束本次防冻 |
5~20 (10) |
|
|
防冻间隔时间 |
2次运行防冻的间隔时间 |
5~30 (15) |
|
|
设备定时开关机设置 |
设备开1时间 |
定时时间段1,用于控制定时开关机 |
00:00~24:00(00:00) |
|
设备关1时间 |
00:00~24:00(00:00) |
||
|
设备开2时间 |
定时时间段2,用于控制定时开关机 |
00:00~24:00(00:00) |
|
|
设备关2时间 |
00:00~24:00(00:00) |
||
|
设备开3时间 |
定时时间段3,用于控制定时开关机 |
00:00~24:00(00:00) |
|
|
设备关3时间 |
00:00~24:00(00:00) |
||
|
定时关机温度 |
在定时关机期间时,设备的目标温度(暂时没用) |
10~95 (20) |
|
|
供水设置 |
供水开1时间 |
供水时间段1,用于控制定时供水 |
00:00~24:00(00:00) |
|
供水关1时间 |
00:00~24:00(00:00) |
||
|
供水开2时间 |
供水时间段2,用于控制定时供水 |
00:00~24:00(00:00) |
|
|
供水关2时间 |
00:00~24:00(00:00) |
||
|
供水开3时间 |
供水时间段3,用于控制定时供水 |
00:00~24:00(00:00) |
|
|
供水关3时间 |
00:00~24:00(00:00) |
||
|
供水温度 |
在供水功能开启时,当水箱温度达到该值后开启供水 |
0~60 (42) |
|
|
回水设置 |
回水温度 |
此温度指的是工程末端回水的温度,不是机器进出水口的回水温度,需要特别注意 |
0~60 (42) |
|
补水设置 |
忙时补水温度 |
在供水期间时的补水温度 |
0~60 (42) |
|
闲时补水温度 |
在非供水期间时的补水温度 |
0~60 (20) |
|
|
膨胀阀设置 |
膨胀阀模式 |
过热度/手动/环温 |
默认过热度 |
|
目标过热度 |
在自动模式下,设置的目标过热度 |
-20~20 (2) |
|
|
膨胀阀手动开度 |
在手动模式下设置的开度 |
160~480 (300) |
|
|
膨胀阀初始时间 |
膨胀阀的初始建立时间 |
60~600 (180) |
|
|
膨胀阀初始开度 |
膨胀阀的初始开度 |
160~480 (300) |
|
|
膨胀阀最小开度 |
膨胀阀的最小开度 |
30~480 (160) |
|
|
膨胀阀调节时间 |
膨胀阀的调节周期 |
5~60 (20) |
|
|
膨胀阀调节量 |
膨胀阀在正常情况下的调节量 |
0~50 (10) |
|
|
排气/盘管高温调节时间 |
设备排气/盘管温度变高后,膨胀阀的调节周期 |
5~60 (10) |
|
|
排气/盘管高温调节步数 |
设备排气/盘管温度变高后,膨胀阀的调节步数 |
0~50 (20) |
|
|
排气调节开始温度 |
实际的排气温度高于此值时,开启高温调节功能 |
90~120 (110) |
|
|
排气调节结束温度 |
实际的排气温度低于此值后,关闭高温调节功能 |
90~120 (108) |
|
|
变频器设置 |
运行频率修正 |
变频器在运行过程中,可以对频率进行适当的修正 |
0~200 (100) |
|
变频器最低运行频率 |
指定变频器运行的最低频率值 |
15~50 (15) |
|
|
冷媒设置 |
冷媒种类选择 |
R22/R 选择高温级冷媒的种类,如果选用的是R |
默认R |
|
压力传感器设置 |
压力传感器 |
根据机器的配置,来进行选择是否使用压力传感器 |
默认不使用 |
|
压力补偿 |
对压力传感器的检测值进行适当的补偿 |
-- |
|
|
蒸发温度保护 |
蒸发保护温度 |
压缩机在运行过程中检测蒸发温度值,当高于该值后膨胀阀的开度将减变小 |
10~50 (30) |
|
回油设置 |
回油间隔时间 |
低温级在运行过程中,在设定时间内,压缩机的运行频率一直小于45Hz,那么就需要进行一次回油,回油时压缩机运行频率为50Hz,当回油运行时间达到设定的工作时间后,结束回油。 |
60~600 (300) |
|
回油工作时间 |
10~120 (30) |
3.4机组运行参数查询
该界面进行机组运行参数的查询,右边绿色的指示灯表示设备已经运行和高低压正常,红色表示设备停止和高低压故障,如图所示。

注意:以上数据只是用于测试,非机组实际运行数据。
3.5报警查询
该界面中显示的是现有的故障信息,最上面的显示框显示报警信息何时产生,何时结束,左下角的显示框显示机器运行开始的所有报警信息,右下角显示当前仍然存在的报警信息且这些报警故障仍然没有解决掉,如图所示。

3.6变频器设置
由于本机中使用到了变频器,变频器的详细设置方法请参考变频器的说明书。如果是新的变频器需要对以下几项进行相应的设置。
|
设置项 |
设置项含义 |
设置内容 |
|
F0.02 |
运行命令给定方式 |
2:通信控制 |
|
F0.03 |
主频率给定方式 |
9:通信给定 |
|
F0.17 |
加速时间1 |
2s |
|
F0.18 |
减速时间1 |
2s |
|
Fd.00 |
通信波特率 |
5:9600BPS |
|
Fd.01 |
数据格式 |
3:无校验,<8-N-1> |
|
Fd.02 |
本机地址(系统1) |
系统1:设置为1,系统2:设置为2 |
|
Fd.05 |
协议选择 |
1:标准Modbus |
三、复叠式热泵热水机组使用说明—— 运输与安装
1. 机组的运输
搬运机组之前,确认安装场地配备适合机组安装的设备及工具,并能承受机组及所有附件的重量。
允许使用叉车搬运机组,但以钢索起吊搬运为佳。在搬运安装过程中应避免机组剧烈震荡及受冲击,以免造成机组损坏及铜管泄漏。
2. 机组的安装
2.1机组安装场地要求
机组应安装在室外通风良好的地方,进出风口应无障碍物遮挡,保证进出风道顺畅。应将机组安放在坚实平整的地方,请按说明书要求作好基础,并在机组底架与基础间垫上一层12~20mm减震橡胶垫,机组底架上设有地脚螺栓孔,用M8或M16毫米地脚螺栓,将机组底架固定到基础上,沿前后、左右方向校平机组底架。机组周围应留有一定的空间,供操作、检查、维护使用。安装间隙:前后空间最小1000mm;左右空间最小为1000
mm,最好在电控箱方向上多留些空间,以方便经常性的操作。高度最小为机组高度+2000 mm,确保出风顺畅,进出风无短路现象。
由于机组除霜时会产生冷凝水,建议在机组两侧设计排水沟,以便冷凝水的顺利排放。
注意:雨雪进入机组会降低机组的制热效率和减少机组的使用寿命,机组安装在有雨雪的露天场所时强烈建议设计遮挡雨雪的铁棚。
2.2水管连接
客户连接水管时,请按照水系统示意图进行连接,只能用等于或大于机组进出水管管径的水管,不能减小管径。客户应在出入口安装防震软接头与闸阀,以减小震动传导。水路系统上的管道、部件等应包裹隔热保温材料,避免热量损失。管道系统须安装过滤器、水流开关及水压表等辅助设备。
2.3电源连接
客户应备有专供机组使用的墙上配电设备(如空气开关、保险等),本系列机组的电源有2种:三相电源380V━3φ━50H和单相电源220V━1φ━50H,控制系统的电源:220V━1φ━50Hz,电源电压的稳定与相间电压平衡的要求:相间电压不平衡不得超过相间平均电压的2%。客户供电系统容量应足够大,当供电系统容量不足,将引起机组启动时电压剧烈下降,至使机组不能启动,严重时损坏机组。本系列机组运行时,允许的电压波动不超过额定电压的5%,机组的控制箱上设有电源进线孔,从墙上配电设备引出火线(三相电源为三条,单相电源为一条)、一条零线及一条地线,经该孔进入电控箱,将地线接于箱体固定螺丝上,三条火线(一条火线)与一条零线接于电源进线端子排的RST(L)及N端子上。至于压缩机的电源引线、控制线路等出厂时己接好。在控制箱内有专供水泵、水流开关连锁用的接线端子,用以保证先启动水泵,后启动机组。出厂时连锁端子间连有短路线,请客户按照机组的电控原理图,连接好连锁线路。
由于机组配有逆相、缺相保护,接线安装时须注意线路相位是否正确,错接相位及缺相时,机组均不能正常运行。
2.4安装注意事项
水泵的供水压力不能大于1Mpa,压力过高将引起水侧换热器损坏。水泵安装时请参照产品说明书所标明的水流量、水阻力等资料要求,水流量过大或过小均会对制冷系统造成影响,降低机组的制热效果,水流量过低会导致系统高压升高,严重时会造成机组报警停机。
水系统必须确保与机组连锁,本系列机组已预留接线端子,请参照机组说明书连接好。
四、复叠式热泵热水机组使用说明——使用与维护
1. 机组开机
机组开机时,先检查水系统和电气系统等是否符合开机要求,确认符合要求后才能启动机组。开机后注意观察机组运行状态,特别观察水泵、风机、压缩机启动是否正常,有无其他异常的振动和声音,如发现异常时需停机,检查确认后再进行开机,必要时联系售后人员进行处理。
2. 水箱温度的设定
按操作说明调节设定水箱温度后机组便能按所设定的目标温度自行控制机组的运行。一旦水温达到设定的温度,机组会自动停机。
3. 使用与维护注意事项
3.1定期对水系统和电气系统进行检查维护,进行外观检查并进行处理,定期维护可及时发现机组运行故障,可大大延长机组的使用寿命。
3.2机组的控制线路和保护装置均经过厂家的严格测试,使用及检修过程中请勿随意改动或拆除,机组部件如有损坏,请及时将机组型号、部件名称告之经销商或生产厂家,以便尽快为您提供维修服务。
3.3机组操作管理人员随时观察机组运行状况,包括水循环情况,水压表、冷媒、出入水温度等各项指标,一旦发现异常情况应及时排除故障,强制运行必将对机组造成损害。
3.4若非紧急情况不得通过切断主电源来关闭机组;若需短期停机(时间少于7天)只需按下机组的停止按钮即可,不用关闭主电源,若机组在冬季长期停止使用,则先关闭机组,再关闭主电源,并将系统内的水放尽,避免冬季温度过低导致系统内水结冰破坏系统。
注意:热泵机组冬天不使用时,需保证机组在通电状态,如果不能保证需将水全部排掉,防止冻裂水管和机组换热器。
警告:热泵机组属高电压、专业性较强的机械设备,应由专业技术人员进行正确的操作及维护,非专业技术人员请勿随意操作及使用。
4. 故障与排除
|
故障现象 |
故障原因 |
检查方法 |
解决方法 |
|
高压报警 |
冷媒量过多 |
检查排气温度及过热度是否正常 |
适量排放冷媒 |
|
系统内有不凝结气体 |
检查排气温度及压力是否正常 |
重新抽真空,加冷媒试机 |
|
|
水系统故障 |
检查水泵的配置及运行情况 |
合理选择符合机组要求(流量及扬程)的水泵 |
|
|
检查水管路过滤器有没有堵塞 |
清洗过滤器 |
||
|
检查冷凝器进出水的温差(正常为3-5℃) |
如温度大于5℃则需增大流量 |
||
|
检查水管管径是否跟机组标准相符,水位及补充水浮球阀是否正常 |
按使用说明书上要求的标准配置 |
||
|
检查冷凝器内部铜管是否太脏 |
清洗冷凝器 |
||
|
低压报警 |
系统冷媒不足 |
检查机组表面有无油渍及铜管裂缝现象 |
请与厂家联系 |
|
冷凝器出液口连接蒸发器管路及配件损坏或故障 |
检查膨胀阀开启情况 |
请与厂家联系 |
|
|
检查膨胀阀出口是否因系统有水份而冰堵(当蒸发低过0℃时) |
请与厂家联系 |
||
|
风机故障 |
风机接触器是否正常 |
检查或更换接触器 |
|
|
风机运转是否正常 |
检查或更换风机 |
||
|
风机螺栓固定是否松动、噪音是否过大 |
紧固固定螺栓,检查或更换风机风叶 |
||
|
风机进出风道是否顺畅 |
检查或更换场地 |
||
|
翅片式换热器换热效果差 |
翅片式换热器太脏 |
清洗翅片式换热器 |
|
|
压缩机运行出现结霜现象、运行压力偏低导致报警 |
风机故障 |
检查风机运行状况 |
按低压报警风机故障项进行排查 |
|
冷媒量过多 |
检查排气温度及过热度是否正常 |
排放适量冷媒 |
|
|
膨胀阀开启度过大 |
检查膨胀阀开启情况 |
适当调整膨胀阀 |
|
|
机组无法启动 |
电源电压不正常 |
检查电源电压是否符合该机组标准 |
调整供电电源、电压及输出容量 |
|
机组连锁控制故障 |
检查水流开关连锁点是否接通 |
调整水流开关 |
|
|
三相电源相相序错误 |
检查三相4线电源位置是否正确 |
将进线电源其中两相电源调位即可 |
|
|
按启动开关报警灯就亮 |
机组冷媒泄漏完 |
检查机组两个压力表指示是否低于2kg/cm2 |
用干燥氮气充压检漏 |
|
压缩机或水泵过流保护动作 |
检查压缩机及水泵过流保护是否断开 |
查明原因后复位 |
|
|
保护位置动作未复位 |
检查相应的保护装置,排除机组异常原因,是否本身性能不良或损坏 |
手动复位或更换保护装置 |
|
|
压缩机过流报警 |
电流大过设定值,保护跳脱 |
检查电源电压是否跟机组要求一致 |
增大电源线径 |
|
检查压缩机本身有无故障 |
更换压缩机 |
||
|
检查机组运行工况、高低压压力是否在正常范围内 |
增大水流量 |
||
|
高温报警 |
出水温度过高保护跳脱 |
出水温度设置过高 |
检查机组的温度设定值 |
|
检查水流量问题 |
检查热水进出水口之间的温差,判断流量是否正常 |
标准为3-5℃ |
|
|
水系统故障 |
检查水系统内是否有空气 |
排放空气 |
|
|
检查水系统水量及补充水是否正常 |
控制补水箱水位 |
||
|
检查水泵的配置是否合适 |
合理选择符合机组要求(流量及扬程)的水泵 |
||
|
检查水泵运行情况,方向是否正确 |
以顺时针运行为正确 |
||
|
检查过滤器有无堵塞 |
清洗过滤器 |
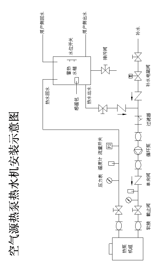
五、复叠式热泵热水机组使用说明——整体安装示意图

2月1日起,北京市率先实施新节能减排促消费政策。空气能热水机组作为第四代热水器,不仅安全性能高,还环保节能省电,近年来颇受欢迎,自然也在本次补贴范围内。选购一级和二级能效空气能热水器,不仅能直接享受13%和8%补贴,最高可省800元,还能在后续使用过程中比普通热水器省电70%以上。
作为正旭最受欢迎的复叠式热泵热水机组,很多用户在使用过程丢失纸面版的使用说明书,想要在网络上搜索该机型的使用说明书,因此小编特地整理热泵热水机的使用说明给用户参考使用。但由于正旭热泵热水器的不断更新改良,使用说明书也略有改变,老版本使用说明书与新款有一定不同,如需最新的版本也联系供货的经销商或厂家。
值得一提的是,热泵热水机组在大学高校、工厂宿舍等都有大量应用,其热水供应效果得到厂里总经理、学校后勤处等负责人的肯定。离不开空气能热水器具有高效节能的优势,帮助工厂降低成本,特别是在疫情导致用工成本增加、很多企业破产倒闭的情况下,为该企业或学生减少水电费。
最新资讯